La toxoplasmosi congenita è causata dall'acquisizione transplacentare di Toxoplasma gondii. I segni clinici, se presenti, sono parto prematuro, restrizione della crescita intrauterina, ittero, epatosplenomegalia, miocardite, polmonite, eruzione cutanea, corioretinite, idrocefalo, calcificazioni intracraniche, microcefalia, e convulsioni. La diagnosi si basa su esami sierologici o test della PCR (Polymerase Chain Reaction). Il trattamento prevede pirimetamina, sulfadiazina e acido folinico (leucovorina).
(Vedi anche Toxoplasmosi negli adulti e Panoramica sulle infezioni neonatali.)
Il Toxoplasma gondii, un parassita presente in tutto il mondo, causa infezioni congenite in circa 1,5 su 1000 nati vivi (1).
Riferimento generale
1. Torgerson PR, Mastroiacovo P. The global burden of congenital toxoplasmosis: a systematic review. Bull World Health Organ. 2013;91(7):501-508. doi:10.2471/BLT.12.111732
Eziologia della toxoplasmosi congenita
La toxoplasmosi congenita è quasi esclusivamente dovuta a un'infezione primaria materna durante la gravidanza o entro 3 mesi dal concepimento; tuttavia, ci sono delle eccezioni, tra cui la reinfezione con un nuovo sierotipo di T. gondii o la riattivazione della toxoplasmosi in madri con gravi immunodeficienze cellulo-mediate. L'infezione da T. gondii si verifica primariamente per ingestione di carne poco cotta contente cisti, o per ingestione di oocisti, derivate da cibo o acqua contaminati da feci di gatto.
La frequenza di trasmissione al feto è più alta nelle donne infettate nell'ultimo periodo di gravidanza. Tuttavia, i feti infettati precocemente durante la gravidanza hanno generalmente una malattia più grave. Complessivamente, il 70% dei bambini nati da persone infette e non trattate per toxoplasmosi durante la gravidanza presenta sintomi di toxoplasmosi congenita se la madre ha avuto sieroconversione dopo 37 settimane, e circa il 30% delle persone infettate durante la gravidanza avrà un figlio con infezione congenita (1).
Riferimento relativo all'eziologia
1. Maldonado YA, Read JS; COMMITTEE ON INFECTIOUS DISEASES. Diagnosis, Treatment, and Prevention of Congenital Toxoplasmosis in the United States. Pediatrics. 2017;139(2):e20163860. doi:10.1542/peds.2016-3860
Sintomatologia della toxoplasmosi congenita
Le donne in gravidanza con infezione da T. gondii in genere non hanno manifestazioni cliniche, ma alcune possono avere una lieve sindrome simil-mononucleosi, linfoadenopatia regionale o occasionalmente corioretinite. Analogamente, i neonati infetti sono solitamente asintomatici alla nascita, ma i problemi clinici possono includere quanto segue:
Ritardo di accrescimento intrauterino
Epatosplenomegalia
Miocardite
Polmonite
Eruzioni cutanee varie
Coinvolgimento neurologico
Il coinvolgimento neurologico, spesso predominante, comprende corioretinite, idrocefalo, calcificazioni endocraniche, microcefalia e convulsioni. La triade classica è costituita da corioretinite, idrocefalo e calcificazioni endocraniche. Le sequele neurologiche e oculistiche possono essere ritardate per anni o decenni.
Diagnosi della toxoplasmosi congenita
Misurazione seriale delle IgG sieriche (per infezione materna)
Test della PCR (Polymerase Chain Reaction) del liquido amniotico (per infezione fetale)
Test sierologico, imaging cerebrale, analisi del liquido cerebrospinale, valutazione oftalmologica (per l'infezione neonatale) e test della PCR (Polymerase Chain Reaction) di vari liquidi corporei o tessuti
L'infezione materna deve essere sospettata se le donne hanno uno o più dei seguenti sintomi:
Una sindrome simile alla mononucleosi e test negativi per il virus di Epstein-Barr, per l'HIV e per il cytomegalovirus (anticorpi o PCR [Polymerase Chain Reaction])
Adenopatia isolata non dovuta ad altra causa (p. es., HIV)
Corioretinite
L'adenopatia di solito si verifica nella regione cervicale (collo) ed è bilaterale, simmetrica e non dolente.
Un'infezione materna acuta viene suggerita da una sieroconversione o da un aumento ≥ 4 volte tra i titoli delle IgG della fase acuta e di convalescenza. Gli anticorpi IgG materni possono essere rilevabili nella madre per anni e nel lattante durante il primo anno di vita.
I reperti ecografici possono suggerire toxoplasmosi congenita ma non sono specifici. Per l'infezione fetale, il test PCR (Polymerase Chain Reaction) del liquido amniotico sta diventando il metodo diagnostico di scelta. Vi sono numerosi altri test sierologici, alcuni dei quali sono praticati esclusivamente in laboratori di riferimento. I più affidabili sono il dye-test di Sabin-Feldman, il test di immunofluorescenza (IFA) e il test di agglutinazione diretta. (Vedi anche Clinical Overview of Toxoplasmosis del Centers for Disease Control and Prevention [CDC] e vedi Laboratory Tests for the Diagnosis of Toxoplasmosis del Dr. Jack S. Remington Laboratory for Specialty Diagnostics.)
Per i neonati con sospetta toxoplasmosi congenita, devono essere eseguiti test sierologici, indagini RM o TC dell'encefalo, analisi del liquido cerebrospinale, emocromo completo, enzimi epatici, risposte uditive evocate del tronco cerebrale, e un completo esame oculare da parte di un oculista. Le anomalie del liquido cerebrospinale comprendono xantocromia, ipoglicorrachia, eosinofilia, pleiocitosi e aumentata concentrazione proteica. La placenta viene ispezionata per segni caratteristici di infezione da T. gondii (p. es., placentitis). Ulteriori reperti di laboratorio comprendono anemia, trombocitopenia, linfocitosi, monocitosi, eosinofilia e aumento delle transaminasi. Il test PCR (reazione a catena della polimerasi) di liquidi corporei, incluso il liquido cerebrospinale o tessuti (placenta) può anche essere eseguito per confermare l'infezione.
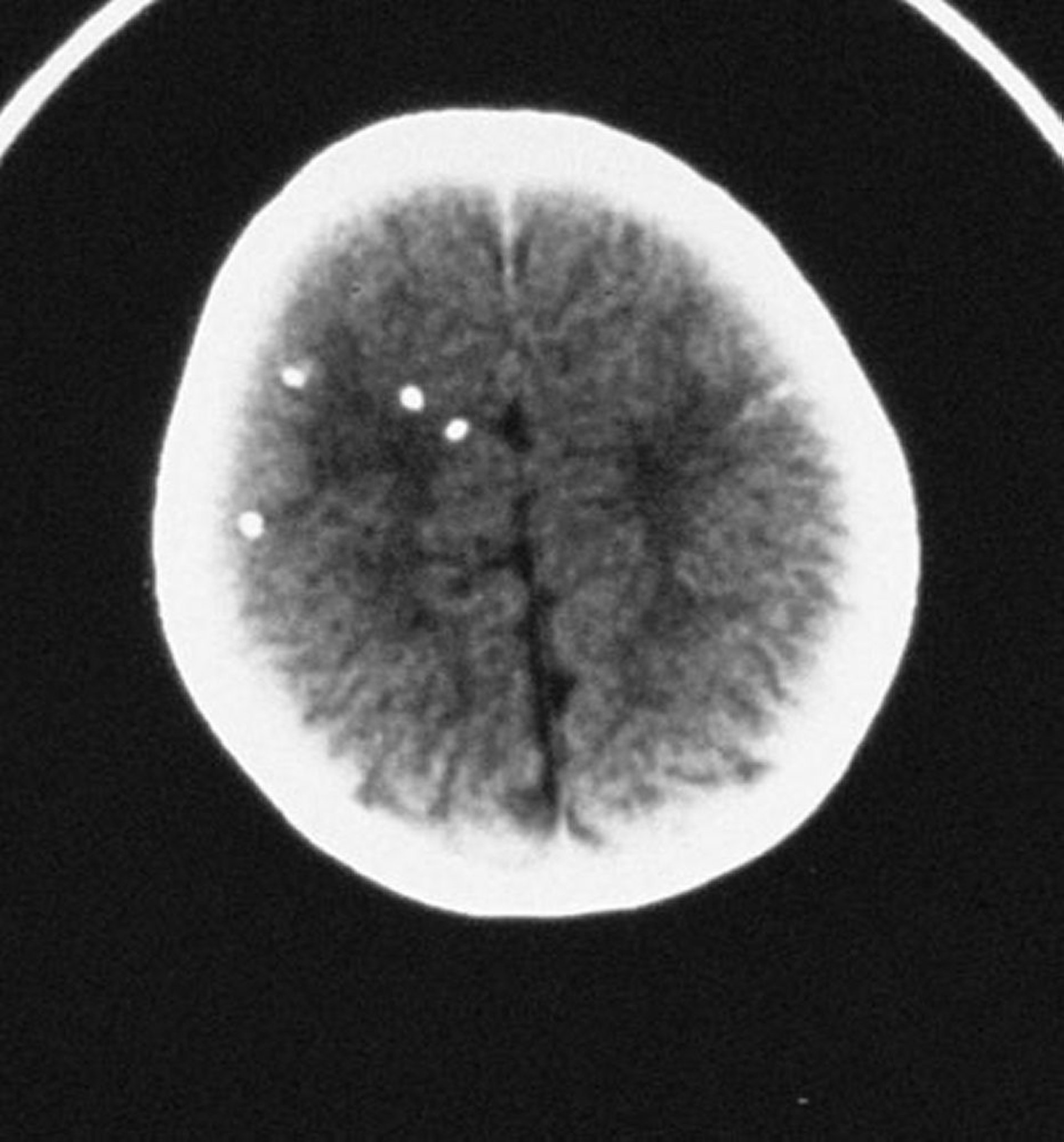
Questa scansione TC mostra calcificazioni intracraniche diffuse.
By permission of the publisher. From Demmler G: Congenital and perinatal infections. In Atlas of Infectious Diseases: Pediatric Infectious Diseases. Edited by CM Wilfert. Philadelphia, Current Medicine, 1998.
Alcuni stati negli Stati Uniti eseguono uno screening neonatale di routine per rilevare l'anticorpo IgM specifico della toxoplasmosi usando sangue essiccato.
Trattamento della toxoplasmosi congenita
A volte spiramicina per le donne incinte
Pirimetamina, sulfadiazina e acido folinico (leucovorina) per pazienti in gravidanza e neonati
Dati limitati suggeriscono che il trattamento delle persone infette durante la gravidanza può essere benefico per il feto (1). La spiramicina (disponibile negli Stati Uniti con il permesso speciale dell'U.S. Food and Drug Administration [FDA]) è stata utilizzata per prevenire la trasmissione materno-fetale quando l'infezione si verifica prima di 18 settimane di gestazione ed è più efficace se somministrata entro 8 settimane dalla sieroconversione. Uno studio retrospettivo monocentrico suggerisce che l'aggiunta di trimetoprim/sulfametossazolo può aumentare l'efficacia della prevenzione della trasmissione (2). Pirimetamina, sulfadiazina e acido folinico (leucovorina) possono essere somministrati quando l'infezione si verifica a o dopo 18 settimane di gestazione o se l'infezione è documentata tramite PCR o ecografia (3).
Il trattamento dei neonati sintomatici e asintomatici può migliorare la prognosi. Pertanto, il trattamento viene iniziato con pirimetamina orale, acido folinico orale e sulfadiazina. Il trattamento viene continuato per 12 mesi, ma la frequenza della somministrazione di pirimetamina diminuisce dopo i primi 6 mesi. Tutto il trattamento deve essere supervisionato da un esperto e i pazienti devono essere monitorati regolarmente per lo sviluppo di neutropenia. L'uso dei corticosteroidi è controverso e deve essere stabilito caso per caso, ma può essere considerato se vi è presenza di corioretinite attiva o le proteine nel liquido cerebrospinale sono ≥ 1g/dL.
Sia i bambini sintomatici sia quelli asintomatici con toxoplasmosi congenita devono essere seguiti attentamente per ritardi nello sviluppo e devono essere sottoposti a valutazioni oftalmologiche ogni 3-6 mesi durante i primi 3 anni di vita (4, 5).
Riferimenti relativi al trattamento
1. Olariu TR, Press C, Talucod J, et al: Congenital toxoplasmosis in the United States: Clinical and serologic findings in infants born to mothers treated during pregnancy. Parasite 26:13, 2019. doi: 10.1051/parasite/2019013
2. Buonsenso D, Pata D, Turriziani Colonna A, et al: Spiramycin and trimethoprim-sulfamethoxazole combination to prevent mother-to-fetus transmission of Toxoplasma gondii infection in pregnant women: A 28-years single-center experience. Pediatr Infect Dis J 41(5):e223–e227, 2022. doi: 10.1097/INF.0000000000003469
3. Buonsenso D, Pata D, Turriziani Colonna A, et al. Spyramicine and Trimethoprim-Sulfamethoxazole Combination to Prevent Mother-To-Fetus Transmission of Toxoplasma gondii Infection in Pregnant Women: A 28-Years Single-center Experience. Pediatr Infect Dis J. 2022;41(5):e223-e227. doi:10.1097/INF.0000000000003469
4. Goldstein E, Montoya JG, Remington JS. Management of Toxoplasma gondii infection during pregnancy. Clin Infect Dis. 2008;47(4):554-566. doi:10.1086/590149
5. Centers for Disease Control and Prevention (CDC): Clinical Care of Toxoplasmosis. Accessed January 27, 2025.
Prognosi della toxoplasmosi congenita
Alcuni bambini hanno una malattia fulminante con morte precoce, mentre altri hanno sequele neurologiche a lungo termine. Occasionalmente, i problemi neurologici (p. es., corioretinite, disabilità intellettiva, sordità, convulsioni) si sviluppano dopo anni in bambini che apparivano normali alla nascita. Di conseguenza, i bambini con toxoplasmosi congenita vanno monitorati attentamente oltre il periodo neonatale.
Prevenzione della toxoplasmosi congenita
Alle donne gravide si deve consigliare di evitare il contatto con le lettiere dei gatti e con altre aree contaminate da feci di gatto (1). Poiché le oocisti richiedono > 24 h dopo l'escrezione per diventare contagiose, cambiare coscienziosamente l'intera lettiera su una base quotidiana, indossando guanti, con un attento lavaggio delle mani, deve ridurre l'infezione da questa via se altri membri della famiglia non possono gestire le lettiere.
È necessario cuocere completamente la carne prima che venga consumata da una donna in gravidanza. Frutta e verdura devono essere lavate accuratamente o sbucciate, e la preparazione di tutto il cibo deve essere seguita dal lavaggio delle mani.
Le donne a rischio di infezione primaria (p. es., quelle a contatto frequentemente con le feci di gatto) devono essere controllate durante la gravidanza. Le donne contagiate nel 1o o 2o trimestre devono essere informate riguardo ai trattamenti disponibili.
Riferimento relativo alla prevenzione
1. Practice bulletin no. 151: Cytomegalovirus, parvovirus B19, varicella zoster, and toxoplasmosis in pregnancy [published correction appears in Obstet Gynecol. 2016 Feb;127(2):405] [published correction appears in Obstet Gynecol. 2016 Feb;127(2):405. doi: 10.1097/01.AOG.0000480402.22371.a4.]. Obstet Gynecol. 2015;125(6):1510-1525. doi:10.1097/01.AOG.0000466430.19823.53
Punti chiave
La toxoplasmosi congenita è di solito causata da un'infezione materna primaria acquisita durante la gravidanza; la riattivazione dell'infezione precedente è a basso rischio eccetto che nelle donne immunocompromesse.
Molti organi possono essere affetti, inclusi il cuore, il fegato, i polmoni, e il sistema nervoso centrale; la triade classica è costituita da corioretinite, idrocefalo e calcificazioni endocraniche.
Alcuni bambini hanno una malattia fulminante con morte precoce, mentre altri hanno sequele neurologiche ed oftalmologiche a lungo termine che possono non svilupparsi per molti anni o perfino decine di anni.
Confermare l'infezione congenita con l'analisi della reazione a catena della polimerasi del liquido amniotico (per l'infezione fetale) o dei fluidi corporei (incluso il liquido cerebrospinale) o dei tessuti per l'infezione neonatale; si possono utilizzare anche test sierologici.
Effettuare una risonanza magnetica o una TAC cerebrale per tutti i casi sospetti.
La pirimetamina, la sulfadiazina e l'acido folinico (leucovorina) possono migliorare l'esito.
Le pazienti in gravidanza devono cuocere la carne accuratamente prima del consumo, lavare o sbucciare accuratamente frutta e verdura, ed evitare il contatto con le lettiere per gatti e altre aree contaminate da feci di gatto.



