Toxoplasmosis congénita
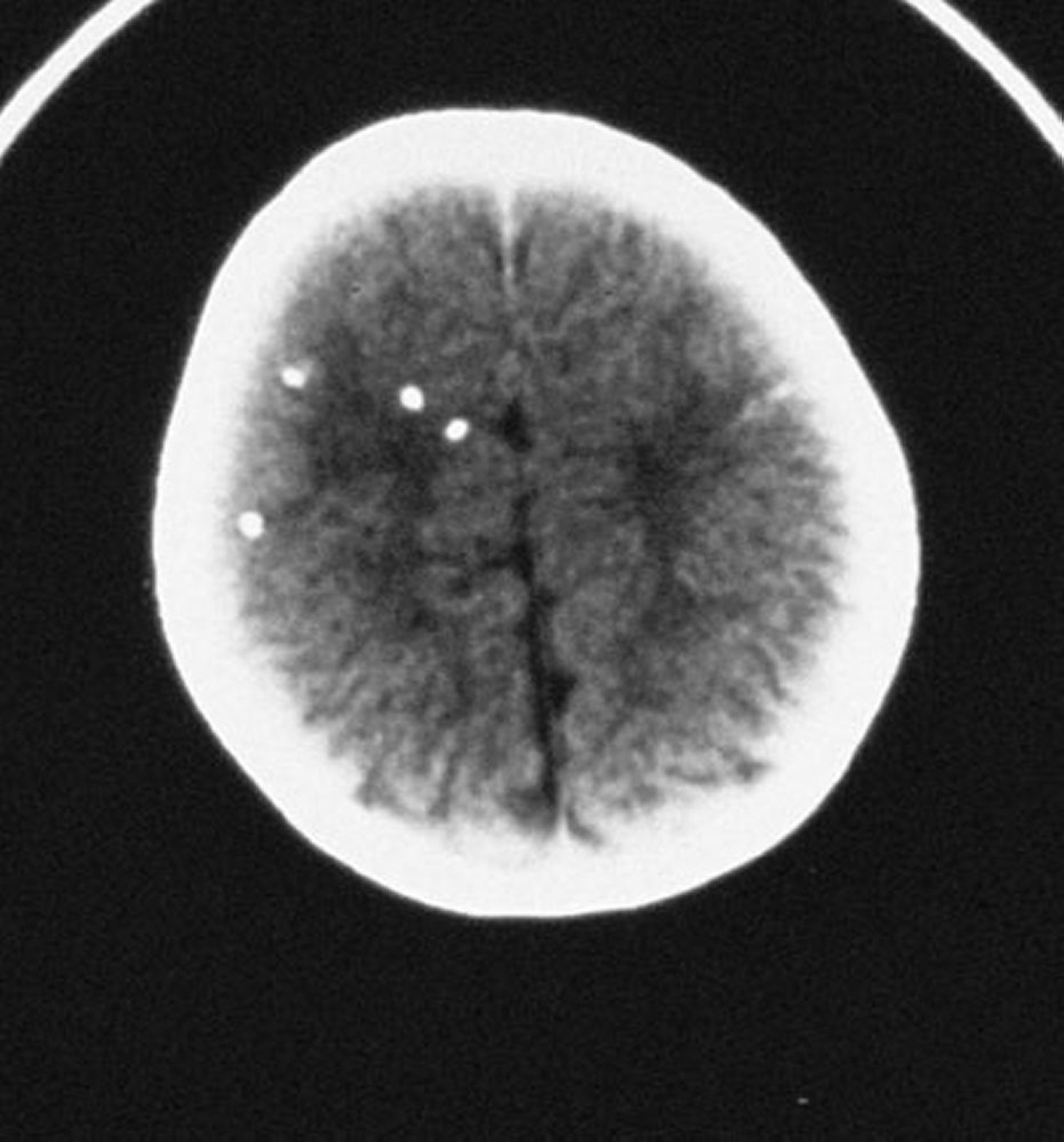
Esta tomografía computarizada muestra calcificaciones intracraneales dispersas.
By permission of the publisher. From Demmler G: Congenital and perinatal infections. In Atlas of Infectious Diseases: Pediatric Infectious Diseases. Edited by CM Wilfert. Philadelphia, Current Medicine, 1998.
En estos temas
